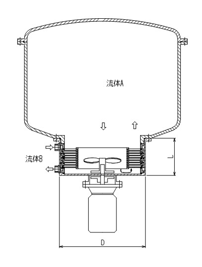
熱交換器(日米中特許登録済み)
高熱交換率
独自の構造により、高熱交換率にて任意の温度制御を実現。
超コンパクトサイズ
反応釜などの装置内部に設置することが可能で、これにより攪拌、熱交換の両面でも大きな効果が発揮されます。またその他にも場所を取らない配管部品としての利用も可能です。


独自の構造により、高熱交換率にて任意の温度制御を実現。
反応釜などの装置内部に設置することが可能で、これにより攪拌、熱交換の両面でも大きな効果が発揮されます。またその他にも場所を取らない配管部品としての利用も可能です。

